Giải mã nỗi lo: Treo vật nặng trên tường gạch bê tông nhẹ AAC có an toàn không?

Post 2026-04-03 |

Trong quá trình tư vấn và thi công tường gạch bê tông khí chưng áp (AAC) hoặc tấm Panel AAC, Càn Thanh thường nhận được một câu hỏi rất quen thuộc từ khách hàng: "Tường AAC nhẹ và xốp thế này, liệu có treo được tủ bếp, bình nóng lạnh hay điều hòa không? Có cần xây chèn gạch đỏ ở những chỗ đó không?"

Câu trả lời là: Tường AAC hoàn toàn treo được các vật rất nặng một cách an toàn. Bạn KHÔNG CẦN và KHÔNG NÊN xây chèn gạch đỏ, gạch đinh... Việc xây lẫn lộn vật liệu sẽ gây nứt tường do độ co ngót khác nhau. Bí quyết nằm ở việc sử dụng đúng loại vít và tắc kê chuyên dụng.

Dưới đây là hướng dẫn chi tiết từ Càn Thanh:

1. Tải trọng nhẹ (< 4kg): Tranh ảnh, đồng hồ, móc treo

Với các vật dụng này, anh/chị có thể dùng đinh đóng tường AAC chuyên dụng hoặc tắc kê nhựa nhỏ.

Giải pháp: Đinh tiết diện vuông (dài 70mm - 180mm) hoặc đinh xoắn.

Mẹo: Nên đóng đinh theo góc nghiêng chúi xuống để tăng lực bám.

Treo vật nặng trên tường gạch bê tông nhẹ AAC có an toàn không

2. Tải trọng trung bình và nặng (14kg - 20kg): Tivi, cục lạnh điều hòa, giá sách

Ở mức này, việc sử dụng các loại tắc kê nhựa có khía/xoắn phổ biến trên thị trường là hoàn toàn đủ khả năng chịu lực.

Thông số: Một mũi tắc kê 8x40mm hoặc 10x40mm bắt vào gạch AAC do Càn Thanh phân phối có thể chịu lực nhổ từ 40kg đến 100kg.

Lưu ý: Luôn khoan đúng kích thước mũi khoan tương ứng với tắc kê (Ví dụ: Tắc kê 10mm dùng mũi khoan 10mm).

Treo vật nặng trên tường gạch bê tông nhẹ AAC có an toàn không

3. Tải trọng nặng (13kg - 20kg): Tủ bếp, bình nóng lạnh, cục nóng điều hòa

Nhiều khách hàng e ngại nhất ở phần này, nhưng tường AAC của Càn Thanh hoàn toàn xử lý tốt bằng hai phương án:

Phương án A: Sử dụng tắc kê chuyên dụng thân dài

Treo vật nặng trên tường gạch bê tông nhẹ AAC có an toàn không

Dùng các loại tắc kê nhựa/nylon dài (8x80mm, 10x100mm...). Thân tắc kê dài giúp bám sâu vào lớp lõi đặc của gạch, tạo lực ma sát cực lớn.

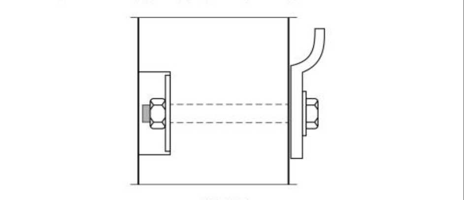
Phương án B: Bắt xuyên tường (Cho vật cực nặng hoặc tải trọng động)

Treo vật nặng trên tường gạch bê tông nhẹ AAC có an toàn không

Đối với các thiết bị như tay vịn cầu thang, bồn rửa mặt lớn, phương pháp bắt bu-lông xuyên tường kết hợp bản mã đệm là giải pháp an toàn tuyệt đối.

3 Lưu ý vàng để treo đồ chắc chắn trên tường AAC:

Khoan đúng cách: Sử dụng chế độ khoan thường (không dùng chế độ khoan búa/đục) để tránh làm vỡ kết cấu lỗ khoan.

 

Đúng phụ kiện: Luôn ưu tiên các dòng tắc kê có cánh xoắn rộng để tăng diện tích tiếp xúc với gạch nhẹ.

 

Lựa chọn đồng bộ: Sử dụng 100% gạch và Panel từ Càn Thanh để đảm bảo tính đồng nhất, giúp việc khoan treo trở nên dễ dàng và chuẩn xác hơn tại mọi vị trí trên bức tường.

Kết luận

Với sự hỗ trợ kỹ thuật từ Càn Thanh và các loại phụ kiện hiện đại, nỗi lo về việc treo vật nặng trên tường gạch nhẹ đã chính thức được loại bỏ. Quý khách hàng hoàn toàn có thể yên tâm thiết kế và lắp đặt nội thất theo ý muốn!

Thông tin liên hệ Càn Thanh: 0982 127 343 hoặc 0967 213 312 

Càn Thanh - Phân phối gạch AAC chính hãng

Tác giả: Lê Quang Dương

Tôi Lê Quang Dương hiện đang là trưởng phòng kinh doanh tại Công ty TNHH Càn Thanh chuyên phân phối gạch AAC, tấm bê tông siêu nhẹ... Ngoài công việc phụ trách bán hàng, tôi còn kiêm luôn hạng mục kỹ sư xây dựng tư vấn tại các công trình như nhà ở, nhà xưởng...

Bạn sẽ quan tâm:

Nhà phân phối tấm bê tông siêu nhẹ tại Quận 6 - Chọn đúng, tránh phát sinh

Nhà phân phối tấm bê tông siêu nhẹ tại Quận 12 - Giá tốt, giao nhanh

Nhà phân phối tấm bê tông siêu nhẹ tại Tân Bình - Giao nhanh, giá tốt

Nhà phân phối tấm bê tông siêu nhẹ Quận 5 - Giá tốt, giao nhanh

Hướng dẫn kỹ thuật xử lý vết nứt tường bê tông nhẹ (AAC/ALC)

Vữa xây EBT-104 là gì? Báo giá & cách dùng chi tiết